Antoine Prioré’s M-600: A colossal intersection of radar technology and biological resonance that achieved 'impossible' cures.
“What happens when a WWII radar technician discovers the secret to cellular time-travel? You get L’Affaire Prioré. Antoine Prioré didn’t have a PhD, but he had a machine that achieved what the French Academy of Sciences called ‘impossible’: the total regression of terminal tumors and the cure of incurable sleeping sickness (trypanosomiasis) using nothing but a specific ‘weave’ of electromagnetic frequencies and magnetic fields.”
Office of Naval Research, (London) ~ Report R-5-78 (August 16, 1978)
A Biologically Active Combination of Modulated Magnetic and Microwave Fields: The Priore Machine
by J.B. Bateman
Introduction ~
A very complicated generator invented by Antoine Priore (or Prioré), a former radar operator without academic qualification, has been said to produce radiation which causes certain implanted animal tumors to regress and cures trypanosomiasis in certain laboratory animals. There are several remarkable things about the papers describing these biological effects, the most remarkable being the contrast between the careful detail in which the biological data themselves are presented and the absence of anything but the most vague, and often contradictory, information about the generator. I have given examples of these disparities elsewhere (1).
A first consequence of the publication of these communications in the Comptes rendus de l’Académie des Sciences (Paris) was a violent polarization of opinion within the Academy and in other French scientific circles. There were some who wished to ignore or deny any phenomenon, however completely attested, brought about by inadequately specified means; they would have opposed presentation of the reports to the Academy and would probably have succeeded in suppressing them but for the determined sponsorship o£ the distinguished secrétaire-perpétuel, Prof. Robert Courrier. Others felt that the importance of the results, if they could be confirmed, made further investigation imperative: if possible, with disclosure of the inventor’s “secret”; if not, then without it.
A second result was the journalistic exploitation of a situation brimming over with human interest. Commentators (2)(3)(4)(5) ranged from a writer in Esquire who has since followed another path to notoriety (3) to Lord (Solly) Zuckerman writing in popular vein (4). None of them resisted the regrettable impulse to step up the popular appeal by introducing scientifically irrelevant biographical details about Priore in order to demonstrate his worthiness for political patronage, which indeed he has received in abundance. Aside from this, they maintained a nice balance between sympathy for the victim of prejudice and healthy scepticism toward his work. Zuckerman, in a lecture given at the Lovelace Foundation in Albuquerque (5), gives Priore an honorable place in his catalogue of those whose innovative achievements remained unrecognized because of conservative prejudice and ignorance, from Babbage to Peyton Rous, though not without leaving himself a loophole should the initial promise not be kept. The main point, he insists, is that people who believe in what they are doing should refuse to be discouraged in an atmosphere of incomprehension and hostility.
The present report is the outcome of a visit to Priore’s establishment sponsored by the organization ADERA for those attending a course of instruction on microwave exposure hazards (6). I shall write very briefly about the alleged biological effects, then about the Priore invention itself and the nature of its biologically active output. Impressions and private conversations bearing on these matters will be mentioned when they add, reliably or otherwise, to the total picture.
Biological Observations ~
There is a pre-history of verbal recollection and gossip connected with the Priore invention. Priore himself is said (3) to have become interested in possible medical applications of electromagnetic waves upon observing that fruit and vegetables could be preserved by exposure to ultra-high frequency fields. A machine was built from US Army surplus and at some stage sick persons were placed in the field generated (3). According to a US scientist who has been interested in repeating some of the Priore experiments, a politically well-connected lady who was cured in this way of cancer after receiving a prognosis of early death is still enjoying perfect health in Bordeaux.
The first experiments on cancerous animals were done by Delmon and Biraben who withheld their results from publication after receiving an unfavorable report from a committee, and because of a fear that publication would prejudice the candidature of one of them for admission to a fellowship (aggregation) (7). They used (8) rats implanted subcutaneously with a well-characterized uterine carcinoma, the so-called T8 (Guérin), having previously studied the effects of x-rays and of pulsed magnetic fields upon these animals without finding anything particularly noteworthy: The magnetic fields had no effect on tumor growth or on the occurrence of lymph node metastases, while the remission produced by x-rays was only transient. After exposure to the window of Priore’s machine, on the other hand, tumor growth could be stopped for as long as three months afterwards. The animals recovered good general health, and lymph node metastases were seldom seen.
The T8 tumor in rats was also used by Rivière and colleagues (9) from Guérint’s laboratory in the cancer institute at Villejuif. They found macroscopic regression of the tumors and of metastases after treatment and observed no relapses up to three months thereafter. Their publication anticipated that of Delmon and Biraben.
Rivière and colleagues then worked with rats implanted with a lymphoblastic lymphosarcoma which when untreated invariably proved fatal within 11 to 15 days, with generalized colonization of the nodes and a leukemic syndrome. Treatment under the Priore machine led to total regression of the graft and of the accompanying metastatic and leukemic phenomena (lO). Certain of these experiments were done with animals from Courrier’s laboratory under the constant supervision of his assistant Madame Cologne. The results were the same, and Courier reported them in an addendum to a further paper by Rivière et al (11) describing comparable results with a mouse lymphosarcoma. Further studies with the rat (12) yielded the discovery that treated rats clinically free of the lymphosarcoma were able to resorb a second transplant of the isologous tumor while succumbing to an homologous tumor of a histologically different type.
Courrier (7) complained that, because of a campaign of disparagement, no French “cancerologists” offered to repeat these experiments Short-lived cooperation was however forthcoming from an English laboratory. According to one account (2), cancerous mice were sent over to Priore’s establishment and some healthy ones were later sent from there to England, but the latter were not the ones that had been sent for treatment. The anonymous director of the English laboratory withdrew his cooperation, though not without providing “a French colleague” with a detailed memorandum. In 1977 Courrier (7) issued his own account of the episode and identified the persons concerned. The director was the late Sir Alexander Haddow (Institute of Cancer Research, Royal Cancer Hospital, Univ. of London), and his envoys to Floirac were E. Whiss and Dr. and Mrs. E.J. Ambrose, the latter being scientists of some repute. Courrier was evidently not persuaded that any substitution had taken place, for he wrote that the rumor was put about: on fait courir le bruit…
The discovery of specific anti-tumor immunity in the treated animals may have lent force to the hunch that the Priore radiation might act upon the immune system of the host rather than directly upon the cancer cells. At any rate, Professor Raymond Pautrizel, a parasitologist already associated with the work of Rivière and Guérin, exposed mice after they had been injected with a dose of Trypanosoma equiperdum sufficient to kill them within five days if untreated, and they all survived (13). At this point extraordinary measures were taken to remove all suspicion of fraud. The experiments were repeated successfully under lock and key and under the eye of a bailiff appointed by a “Commission de Contrôle” composed of university officials and local dignitaries. The official report was certified by all the members of the Commission. A positive result obtained under such conditions, said Courrier (7), should have put an end to all criticism from men of good faith.
In a further series of short papers in the Comptes rendus Acad. Sci. Paris (14) (15) (16) this indirect effect upon the immune system of animals infected with T. equiperdum was confirmed and elaborated. These brief published statements represent a lot of work: just how much was apparent from a lecture given by Pautrizel during my visit to Floirac. When I asked about his plan to publish the evidence in detail, he told me that he had not found a journal willing to accept such a manuscript.
The evidence presented, furnished by experiments on mice (13) (14) (16), rats (14) and rabbits (15), follows fairly conventional lines which I shall not attempt to review in detail. Briefly: the pathogenic organisms disappeared from the treated animals, which survived indefinitely. In rare cases where the parasites reappeared, they were of a different antigenic type from those causing the original infection. Treatment brought about an intense acquired immunity. Some animals were reinfected 7 times over a period of 6 months, eventually with 100 times the original, and otherwise invariably fatal, dose, Multiple reinfection resulted in a high titer of agglutinating antibodies. The blood of these animals conferred upon other normal animals an immunity which persisted for about 45 days. Treatment with an immunosuppressant, cyclophosphamide, depressed, but did not abolish, the appearance of agglutinating antibody when infected animals were subjected to Priore irradiation, although relapse occurred after about 12 days. Newborn animals died of the infection whether irradiated or not, and the organisms found in their blood were of the original strain. Trypanosomal antigen of unspecified nature, injected intraperitoneally after the first irradiation of infected animals, caused an enhancement of antibody production. When the parasites were protected from the host’s immune system by being implanted in a diffusion chamber, Priore irradiation failed to inhibit their multiplication. In his talk, Pautrizel said that in order to elucidate further the apparent effect of irradiation in exalting the mobilization of the immune system, the course of change of immunoglobulins M and G. of albumin/globulin ratio, and of agglutinating and hemagglutinating titers was followed in irradiated and reinfected animals for about one year. The data were given in detail. With no time in which to understand, much less to assimilate them, I was left only with the impression that a clear picture has yet to emerge a conclusion apparently shared by Prof. Czersky of Warsaw. One point of interest was the passing mention of a failure to modify the course of a malarial infection. This is not surprising, perhaps, remembering the vastly more complex life cycle of the plasmodium and its greater antigenic variability.
The postulated general stimulation of “defense mechanisms” by the output of the Priore machine led Pautrizel to ask whether this effect might extend to the prevention or cure of atherosclerosis. Another short paper communicated, as usual, by Courrier (17), described a “spectacular” attenuation of the hyperlipemia induced in rabbits by a diet of “industrial granules” supplemented by 1% of cholesterol, resulting in a daily cholesterol intake by each rabbit of about 1 gram. The observed effect of irradiation took the form of an inhibition of increased cholesterolemia, persisting for several weeks after treatment, and a marked decrease in the extent of aortic deposition. I find the data rather unconvincing, with quite a lot of overlap of experimental and control values. As for the explanation of the effect, if it can be confirmed, Pautrizel and colleagues (17) ask whether it could be due to an activation of lipid catabolism. Strangely enough they do not discuss the role of macrophages in the regression of tumors, the cure of trypanosomiasis, or the prevention of hypercholesterolemia, although macrophage mobilization might provide a common mechanism.
The Invention ~
Much has been written deploring Priore’s secretiveness. It has been an embarrassment in one camp and a ground for dismissing his invention in another. My own view is that a secretive inventor and his invention, if important, must be investigated as a part of the external world, and the obstacle posed by limited cooperation accepted in the spirit in which the inaccessibility of nature is accepted as a challenge to our wits. Priore has in fact been much more considerate than the Almighty, who after all has provided no blueprints to his creations, while Priore included in his first paper a footnote (9) informing us that the physical principle of his invention has been the subject of a patent (18). How strange that none of the journalistic commentators, from Zuckerman down the line, have thought it worthwhile even to mention the existence of this document. When drawing it to the attention or several members of the party visiting Floirac, I found astonishment at its existence followed by doubts as to whether, since they had not read it, it could contain any information of value. I had no opportunity to ask Priore about it, but an associate who did so met with a similar response : it won’t help very much, he said. Nevertheless the apparatus described is presumably that used by Rivière, in whose paper it is mentioned, and the amount of detail given is such that, unless indeed it is fraudulent, a reasonable guess as to the nature of the emerging radiation ought to be possible for people competent in the field.
With this in mind I planned to include only a summary in this report, but have now decided upon a full translation (Appendix), without which the odd flavor of the document would be lost. A seemingly reasonable description of components and layout is coupled with a quaint – some might say superstitious – intrusion of pseudo biology and mention of electrophysiological pioneers whose identity can only be guessed through a haze of misspellings. There is, for instance, the choice of modulation frequency of the magnetic field to match the rhythm of the patient’s heartbeat. There is, too, the comment that the best results are obtained when the cathode generating a stream of positive ions is made of molybdenum, the metal whose valency is closest to the mean valency of the chemical molecules constituting living tissues.
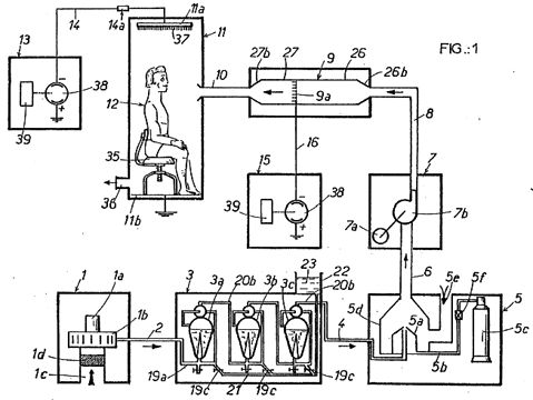
I leave the reader to form his own impression of the invention described in the patent, save to mention that the active radiation emerges from a tube containing a rotating deflector upon which impinge, from several different sources, a stream of positive ions accelerated in a cyclotron, a beam of centimeter waves generated by a magnetron, and a magnetic field. Any or all of these may be chopped or modulated according to various patterns. The machine was working during the visit to Floirac. One could see the exit of the tube beneath which the biological targets are placed. There was a certain amount of rumbling and crackling, and the pinkish luminescent plasma appeared to be turbulent. I asked about the speed of rotation but was told by one of Priore’s assistants that the information is strictly confidential. I could guess it to be well under 100 rpm.
The Emergent Field ~
After several misleading statements about the nature of the biologically active field generated by Priore’s machine (mentioned in ref 1), a short paper in the « Comptes rendus » described the results of experiments in which two physicists of established reputation had been allowed to cooperate with Priore, Pautrizel, and their associates. Berteaud and Bottreau (19) were able to analyze the radiation in some detail, up to x- and gamma-ray frequencies. Their report is confined to the assertion that they have established the presence of a 904-GHz pulsed electromagnetic wave, amplitude modulated at HF frequency 17 MHz, and a slowly modulated continuous magnetic field of the order of 1 kG. Other components, if detected, are not mentioned. There exists, I am told, a confidential report of the whole investigation. Bottreau assured me personally that there was no trace of ionizing radiation.
Berteaud and coworkers (19) also mapped the intensity distribution of these radiations in a plane perpendicular to the axis of the apparatus. Then, using as targets mice infected with T. equiperdum, they were able to demonstrate a simple relationship between the rate of decrease of parasitemia in these animals and the relative intensity of the UHF component. However, in separate experiments they found that fatalities among infected mice were not decreased when the animals were exposed to an unmodulated 9.4-GHz field of comparable intensity. They concluded that the UHF field generated by Priore’s machine is a necessary but not sufficient condition for the observed biological effects.
The results of Berteaud et al leave us with some unanswered questions. If their analysis of the field was complete, the biological activity must rest jointly on the UHF component and the magnetic field. How critical are the exact values of the many parameters involved and the relationship between them for the manifestation of biological activity ? Is it possible that the methods available to Berteaud and coworkers were incapable of furnishing a complete analysis ?
One can only speculate. It has struck me that in all the papers describing the biological effects of this radiation, there is nowhere any mention of any search for the correct operating conditions of the machine. Apparently the machine, if it works at all, always produces results, and one must remember that two different models have been built and found to be effective. The one quantity that is regularly mentioned is the magnetic field strength, 620 G in the first model and 1240 G in the second. The patent document seems to suggest that there is great flexibility in the mode of operation. It is moreover almost inconceivable that Priore could have had any genuine theoretical basis upon which to favor one particular set of patterns over another in relation to biological changes that are themselves of intractable complexity and totally unpredictable. One is bound to suspect that the exact mix is anything but critical, and that if the reported biological effects are genuine they might very well be brought about by much simpler means. It is of some interest that extremely sharp frequency selectivity has been claimed in recent biological experiments with monochromatic microwaves, in contrast to the sort of flat response surmised in the present context. The need for fine tuning could of course be obviated in a machine designed for sturdiness and broad applicability by arranging for it to generate “white” energy with respect to the several decisive characteristics, including modulation frequencies and perhaps their derivatives, or alternatively to generate an output which varies rapidly in real time, systematically or randomly, over a sufficiently wide range of values. The biological effects of such radiation would then he the sum of Various qualitatively and quantitatively different selective processes including the possible cancellation of additive effects such as stimulation and inhibition. However, total nullification would be no more likely than it is, for instance, in the visible everyday consequences of illumination by sunlight. Such an approach, if it has been adopted by Priore or if it has emerged fortuitously as an unforeseen property of an assemblage of components chosen on the basis of some other rationale, would account for the extravagance of the machine in energy consumption in return for a very modest biological yield. There is no immediate evidence for this in the statements of Berteaud and Bottreau (19), but the relevant quality of “whiteness” might apply pertinently to other parameters than those investigated by them. The possibility that some hitherto unrecognized feature of the radiation from a rotating plassa may be responsible for the Priore effects should not be dismissed out of hand, at any rate by those who, like myself, know nothing about plasmas. Dr. John Carstoiu of Brookline, MA, who counts among his accomplishments an extension of the Maxwell equations to the evaluation of ponderomotor forces, likes to call the Priore machine a magnetohydrodynamic wave guide He considers the acceleration of the plasma to be a significant feature. He refers to the various types of oscillation that may be set up but does not, and presumably cannot, say how they can manifest themselves across a quartz window. One’s naive reaction is to doubt, in any case, whether the accelerations attainable in an apparatus as described in the patent document would be great enough to initiate a gravitational wave of any significance. Unless the suggestion is an obvious absurdity to a plasma physicist, somebody will have to do the arithmetic.
The New Generator ~
The further development of Priore’s invention is being done under the auspices of an organization set up for the purpose : the Société d’Exploitation du Rayonnement Antoine Priore (SERAP) which brings Priore into formal relationship with a company, Moteurs Leroy Somer of Angouleme. This company has been the recipient of a $ 0.7 million contract from the DGRST (Delégation Générale à la Recherche Scientifique et Technique) for the construction of a third machine of greatly increased output. Priore has been reported (3) to predict that the cost is more likely to be $ 3 million. No doubt other sources of funding are available. In return for such support Priore promises a much bigger and better machine that will generate a more intense field of much larger cross section than those with which the results already reported were obtained. So, one can guess, larger groups of small animals will be irradiated simultaneously for shorter periods than formerly and the rate of accumulation of data will increase — if, that is, the biological measurements can keep pace. Perhaps too, by the same token, small groups of large animals will be treated, with the single sick human as the ultimate target of the entire endeavor.
Little was learned of this latest development during my visit to Floirac. The Priore residence is coming to look like an industrial laboratory of electrical engineering geared to pilot scale operations. There are rumors of serious technical difficulties such as might have been anticipated in scaling up such a complicated device. It is said to be proving difficult, for instance, to construct a pyrex container able to cope with the very high energy flux in the plasma.
Is the new machine really needed? At the technical level the answer is almost certainly “no”. Evidently technical considerations are overruled by others, no doubt of a personal, political, and even patriotic nature. The whole operation takes on a farcical aspect when one considers that the only genuine need in the present state of affairs is to get independent confirmation, or refutation, of results already obtained with equipment that was clearly adequate for the original experiments. The funds now made available would suffice for the building of several replicas of the Mark 2 machine. These, placed in selected centers of research, could be used by independent teams for a critical repetition and extension of earlier findings. The success or otherwise of the time-consuming attempt to build a giant machine is largely irrelevant to the central doubts that persist as to the claims made for the Priore radiation, and this expensive diversion of effort betrays a certain recklessness which ill serves the quest for a solution to the mystery surrounding “L’affaire Priore.”
References ~
Note: References (3) to (5) have been available to me only in the form of translations into French and I therefore cite them in this form, with the original English reference when available.
1. Bateman, J.B., 1977. Microwave Magic. ONR London Conference Report, ONRL C-14-77.
2. Greenberg, D.S., 1973. The French Concoction. Saturday Rev. Sci., May, 36-44. Translated by the « Association Nationale de Bioélectromagnétisme » (ANB) under the title : « La Mystérieuse Machine Médicale Française ».
3. Rorvik, D.M., 1975. « Les Frangais ont-ils un Traitement Contre le Cancer ? » Translation by ANB of the article in Esquire, July.
4. Zuckerman, (Lord), 1973. « Le grand mystère de la machine magnétique de Bordeaux ». Translation by SERAP of the article : The great Bordeaux magnetic mystery machine. Sunday Times Weekly Review, 7 Jan.
5. Zuckerman, (Lord), 1974. « Orgueil et préjugé dans le domaine de la science ». Translation by ANB of the William Randolph Lovelace Commemorative Lecture : Pride and prejudice in science. Aerospace Medicine 45, 638-647.
6. Bateman, J.B., 1978. Staging the perils of non-ionizing waves. Office of Naval Research London, European Scientific Notes, ESN 32-3: 85-88.
7. Courrier, R., 1977. « Exposé de M. le professeur R. Courrier secrétaire perpétuel de l’Académie des Sciences fait au cours d’une réunion à l’Institut sur les effets de la machine de M. A. Priore le 26 Avril 1977 ».
8. Delmon, G., Biraben, J., 1966. « La croissance du carcinome de Guérin sous l’action de champs magnétiques ». Rev. Path. Comp. 3, 85-88.
9. Rivière, M.R., Priore, A., Berlureau, F., Fournier, M., Guérin, M., 1964. Action de champs électromagnétiques sur les greffes de la tumeur T8 chez le rat. Compt. rend. acad. Sci. 259, 2895-7.
10. Rivière, M.R., Priore, A., Berlureau, F., Fournier, M., Guérin, M., 1965a. Effets de champs électromagnétiques sur un lymphosarcome lymphoblastique transplantable du rat.ibid. 260, 2099-2102.
11. Rivière, M.R., Priore, A., Berlureau, F., Fournier, M., Guérin, M., 1965b. Phénomènes de regression observés sur les greffes d’un lymphosarcome chez les souris exposées à des champs électromagnétiques. ibid. 260, 2639-2642.
12. Rivière, M.R., Guérin, M., 1966. Nouvelles recherches effectuées chez les rats porteurs d’un lymphosarcome lymphoblastique soumis à l’action d’ondes électromagnétiques associées à des champs magnétiques. ibid. D262, Z669-2672.
13. Pautrizel, R., Rivière, M., Priore, A., Berlureau, F. 1966. Influence d’ondes électromagnétiques et de champs magnétiques sur l’immunité de la Souris infestée par Trypanosoma equiperdam. ibid. D263, 579-582.
14. Pautrizel, R., Priore, A., Berlureau, F., Pautrizel, A.N., 1969. Stimulation, par des moyens physiques, des défenses de la souris et du rat contre la trypanosomose expérimentale. ibid. D268, 1889-1892.
15. Pautrizel, R., Priore, A., Berlureau, F., Pautrizel, A.N., 1970. Action de champs magnétiques combinés à des ondes électromagnétiques sur la trypanosomose expérimentale du lapin. ibid. D271, 877-880.
16. Pautrizel, R., Priore, A., Mattern, P., Pautrizel, A.N., 1975. Stimulation des défenses de la souris trypanosomée par l’action d’un rayonnement associant champs magnétiques et ondes électromagnétiques. ibid. D280, 1915-1918.
17. Pautrizel, R., Priore, A., Dallochio, M., Crockett, R., 1972. Action d’ondes électromagnétiques et sur les modifications lipidiques provoquées chez le lapin par l’administration d’un régime alimentaire hypercholesterolé. ibid. D274, 488-491.
18. Priore, A., 1963. Procédé et dispositif de production de rayonnements utilisables notamment pour le traitement de cellules vivantes. République Française: Brevet d’invention P.V. No. 899.414, No. 1.342.772. Délivré par arrête du 7 Octobre 1963.
19. Berteaud, A.J., Bottreau, A.M., Priore, A., Pautrizel, A.N., Berlureau, F., Pautrizel, R., 1971. Essai de corrélation entre l’évolution d’une affectation par Trypanosoma equiperdam et l’action d’une onde électromagnétique puisée et modulée. Compt. rend. Acad. Sci. D272, 1003-1006.
US Patent # 3,280,816
US Cl. 128-1.3 ~ October 25, 1966 Method of Producing Radiations for Penetrating Living Cells
Antoine Priore
This invention relates in a general way to radiations capable of penetrating matter. More precisely, it has for its object to provide a method for obtaining a combination of radiation of different kinds capable of penetrating matter, and more particularly of penetrating intimately into living organic tissues and producing certain effects therein and most notably in human tissues for therapeutic purposes, without destroying therein such essential elements as the enzymes for instance.
In accordance with the present invention, electrically charged particles are emitted into a cavity, and onto this emission is superimposed a centimetric electromagnetic radiation the wavelength of which preferably lies between 3 cm and 80 cm, and the resulting radiation issuing from said cavity is directed onto the target to be irradiated.
The applicant has noted that the penetration and particularly the curative effects are very markedly improved when the frequency of the electromagnetic radiation is determined according to the organ or tissue to be penetrated or treated. For example, a wavelength of 14 cm is suitable for the liver and a wavelength of 19.5 cm for the spleen.
The charged particles radiated are preferably accelerated in a particle accelerator in order to increase the penetration force.
The resulting radiation is preferably applied to and directed at the target, namely at the tissue to be penetrated, by means of a tube which is the seat of accelerating and directing magnetic fields and electrical fields, said radiation being with advantage directed and/or reflected by a rotary deflecting device placed within the tube.
In many cases it will be of advantage to modulate the particle radiation or to produce it rhythmically by means of varying magnetic and/or electrical fields whereby to further increase the penetration force. Such a rhythm is preferably tuned, particularly in medical applications, to the natural period (oscillation time) of the tissue to be penetrated or of the tissues adjacent thereto, an example being the muscles. These natural periods are well known in medicine and are applied for diathermy in particular; they lie in the range of wavelengths extending from 1 meter to 50 m and more specifically from 1 m to 18 m.
Means are preferably provided for modulating the emitted radiations, the accelerating electrical and magnetic fields, and possibly also the rotary deflecting device, in step with the patient’s heartbeats.
It would appear that the positive results obtained with this invention in the treatment of disorders of the living cells (be they vegetable or animal), are due to certain phenomena which will be discussed hereinafter, it being of course understood that such discussion in no way limits the spirit and scope of the invention.
Depending on its electro-physico-chemical constitution, the cellular protoplasm-nucleus couple is endowed with electrical conductivity which is related directly to the ionic exchange motions caused by metabolic phenomena. Indeed one notes in the tissues the presence of accumulations of electricity under potentials that differ according to the varying cell densities of the tissues.
The work conducted by Renshaw, Forbes, Morison, Amassian, De Vito, Buser, Albe-Fessard, Tau, Adrian, etc., has demonstrated with the aid of microelectrodes the existence of a slow-oscillation-type elemental electrical activity within the cells, while the pace-maker can be regarded as being provided by the oscillating electromagnetic system formed by the cell nucleus. Basically, indeed, the nucleus consists of tubular filaments of insulating material (akin to chitin) containing therein an electricity conducting saline liquid, and these filaments, twisted onto themselves, can be likened to veritable little oscillating circuits.
Recent work carried out by Warson in America, as well as other work carried out by French researchers, including a paper by Messrs. Polonsky, Douzou, and Sadron, read on 16 May 1960 before the Academy of Science by Prof. Francis Perrin (Collected Weekly Reports, Tome 250, No. 20, pp 3414-3416), brought out the fact that the experimental solid deoxyribonucleic acid (DNA) samples used revealed properties similar to the familiar properties of ferro-electric bodies, thus giving verisimilitude to the hypothesis that a difference of potential can exist across the nucleus and the periphery of the cells. Certain recent theories even go further and liken the cell to an electronic receiving-emitting device that operates in the normal state with a frequency attuned to the ambient media. In accordance with these recent theories, the cell nucleus forms a damped-wave oscillating system which obeys the laws governing semi-conducting bodies.
The applicant has come to the firm conclusion that, in the normal state of physico-electrical equilibrium, the cell nucleus is positively charged but that it can become negatively overcharged following phenomena similar to polarization. It is believed that the results obtained by the applicant by treating living cells with the resulting radiation of the invention are due to restoration of a correct electrical potential of the nuclei.
]
The description which follows with reference to the accompanying drawing, which is filed by way of example only and not of limitation, will give a clear understanding of how the invention can be performed, such particularities as emerge either from the description or the drawing naturally falling within the scope of this invention.
In the drawing filed herewith:
Figure 1 shows in schematic section a device for producing and emitting a combined electromagnetic field in accordance with the invention;
Figure 3 is a sectional view taken through the line III-III of Figure 1;




The particle emitter 1 consists of an electron gun having a plate 10 and a cathode 11.
Cathode 11 is made of molybdenum and is shaped in a very special manner shown in Figures 1 and 2. It includes a rim 11a which is joined through two diametrically opposed radii 11b to a hub 11c embodying a hole 11d of axis XX’. Rim 11a is made up of two parts (as shown in Figure 1) assembled together by means of screws or the like, and embodies a cavity of revolution 11e in the walls of which are provided a plurality of uniformly spaced pairs of opposed holes 11f parallel with axis XX’. Within cavity 11e is disposed a heating filament 12 connected to the supply leads 12a.
The best results are obtained with a cathode 11 made of molybdenum. However, the applicant obtained satisfactory, though less good, results with tungsten cathodes. It so happens that molybdenum, and to a lesser extent tungsten, are metals the valence of which is nearest the mean valence of the chemical molecules that make up living tissue and more particularly human tissue. Whereas a scientific explanation based on observation of the phenomena involved could be attempted, it is to be clearly understood that the invention is by no means limited by any such scientific explanation. Further, insofar as the low-pressure gas in the device is concerned, optimum results are obtained with argon. However, the applicant also obtained satisfactory, though less good, results with the other gases of the family of rare gases.
Surrounding the tube forming the electromagnetic chamber are disposed an electromagnet 13 with its coil 13a, placed level with the cathode, and the accelerating coils 14 and 15. Further accelerating coils 14a, 15a, 16a and 14b, 15b, and 16b are likewise arranged about cavities 3 and 5 respectively.
The two semi-circular boxes or D’s 4a of cyclotron 4 are placed in the customary fashion between the frame poles, and said frame is surrounded by accelerating windings 4b and 4c.
Magnetron 7 is of any convenient known design and must be capable of emitting into cavity 3 a centimetric radiation of wavelength adjustable between 3 cm and 80 cm.
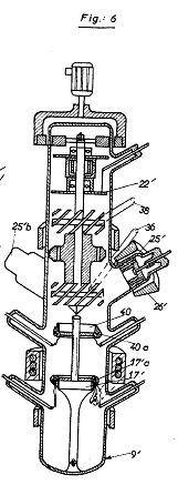
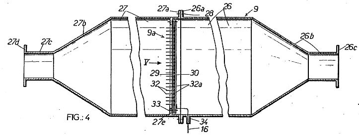
Accelerating and directing tube 9 is provided in its lower part with a cathode 17 similar to cathode 11, together with a heating filament 17a. Cathode 17 is supported on a hollow base 18 embodying holes 18a adjacent where it joins the end closure of tube 9. Said base 18 communicates with a tube 18b which has an open end adjacent a rotary deflector 19 provided with two rings of graphite plates 19a inclined at 45 degrees to the vertical. The shaft 19b of the rotary deflector is rotatably supported in a bearing 20 fixed with magnetic fly-weights 19c which set it in rotation by coacting with magnetic fly-weights 21a rigid with the shaft 21b of a motor 21. The lower extremity of rotary deflector 19 consists of a pyramid-shaped molybdenum or tungsten part 19d the apex of which is situated opposite the open end of tube 18b to deflect the radiation downwardly towards the target. The lower part of bearing 20 forms the plate or anode 22 of tube 9.
Hollow base 18and tube 18b can be made of some boro-silicate glass of low coefficient of expansion, such as Pyrex. Alternatively, they can be made of quartz. Tube 9 likewise can be made of Pyrex-type glass, or of any other glass of the quality commonly used for manufacturing electron tubes, but its end closure 9a, through which the radiation passes, is preferably made of quartz.
Conduit 8 communicates with tube 9 via a plurality of pipes such as 8a and 8b directed at a certain angle, along vertical planes, towards plates 19a, said angle being preferably in the region of 22.5 degrees, About cathode 17 is disposed an electromagnet 23 similar to the electromagnet 13 of radiating tube 1. About tube 9 are likewise disposed accelerating coils 24. At the points shown on the drawing, tube 9 also includes three electrodes 25, 25a and 25b surrounded respectively by coils 26, 26a and 26b. On the drawings are also represented the feeders 17b and 17c of the cathode and its filament, and 22a of the anode.
The power supply circuit diagram is shown on Figure 4. The main supply 27 supplies low-voltage alternating current to a first branch comprising a rectifier 28 (a kenotron, for instance), the rectified current from which is modulated to a rate adjustable between 30 and 120 pulses per minute by means of a resistor 29 the control system of which will be described hereinafter with reference to Figures 7 and 8. The current modulated thus is applied to electromagnets 13 and 23 whereby to cause them to generate, at the level of cathodes 11 and 17, a modulated unidirectional field of 10,000 to 20,000 gauss.
The main supply 27 also powers a variometer 30 which is adapted to be operated to modulate the current from at a rate which is adjustable between 30 and 120 pulses per minute, and the current issuing from variometer 30 supplies the remainder of the system, to wit:
The magnetron 7:
A converter set 31 the excitation of which is modulated at a frequency variable from 300 to 900 cps; this provides a direct current for supplying coils 15, 16, and 26, which is doubly modulated (first at 30 to 120 pulses per minute, then at a frequency of 300 to 900 cps);
A further converter set 32 producing low-voltage direct current modulated to a rate of 30 to 120 pulses per minute by virtue of variometer 30; this current supplies motor 21, together with the motors driving variometer 30 and the control device of resistor 29.
The current produced by converter set 32 additionally feeds a voltage step-up device 33 comprising a vibrator followed by a transformer and a rectifier and generating a direct current the voltage of which varies in step with the 30 to 120 pulses per minute rate imposed by variometer 30. The maximum value of this voltage produced by device 33 could be 300,000 volts for instance, but this figure can vary either way, depending on the power to be brought into play.
The current produced by voltage step-up device 33 feeds the windings 4b of the cyclotron and 24 of the tubes 9, as well as a rheostat 34 which permits adjusting the voltage to the desired value between 5000 volts and 70,000 volts. This voltage is applied to an oscillating circuit 35 which imparts thereto oscillations of frequency adjustable as desired between wavelengths of 1 m and 18 m. The current available across the output terminals 35a and 35b of oscillating circuit 35 is consequently high tension current that is initially modulated to 30 to 120 pulses per minute (by virtue of variometer 30) and subsequently to a wavelength of 1 m to 18 m. This current supplies the coils 4c and 14. Electrodes 25a and 25b are respectively connected to terminals 35a and 35b, while electrode 25 is connected to the mid-point 35c.
The cathodes 11 and 17, the cyclotron D’s 4a and the plates 10 and 22, which are not shown on the block diagram of Figure 4m are connected to the output end of voltage step-up device 33, the preheat current for filaments 11e and 17a being furnished by resistor 29.
To use the apparatus according to this invention, the control system of resistor 29 and variometer 30 is set to the required pace which, in medical applications, is preferably the patient’s pulse rate: this rate is thus imposed on the system as a whole. Cathode 11 emits a stream of positively charged particles 2 leftwardly, which particles are concentrated by electromagnet 13 and accelerated by windings 14, 15, and 16 and by cyclotron 4. To this radiation of particles is added, in conduit 8, the electromagnetic radiation of magnetron 7 which is adjusted to a wavelength shown by experience to be the most favorable for the cells to be penetrated, examples being 14 cm for the liver and 19.5 cm for the spleen. The resulting radiation is directed and accelerated in tube 9 and then directed by the base thereof towards the target to be penetrated.
It should be noted that the unidirectional magnetic field of coils 15, 16 and 26 is modulated by converter set 31 to a frequency adjustable between 300 and 900 cps. The result of this modulation is to concentrate the particles, i.e., detach them from the conduit walls, and also to enable a substantial saving to be made on the weights of the iron cores of the coils.
The unidirectional magnetic fields of the cyclotron coils 4c and the accelerating coils 14, and the electrical field of the electrodes 25, 25a and 25b, are modulated by oscillating circuit 35 to a wavelength selected between 1 m and 18 m. In medical applications in particular, the wavelength chosen is that best suited to the organ to be treated or to such adjacent parts thereof as the muscles. As already stated, diathermy experiments will enable the most appropriate wavelength to be determined.
It should be noted that the resulting radiation already possesses considerable penetration force in conduit 8 (see Figure 1). The device herein before described can therefore be used without tube 9 and by bounding the cavity at the extremity of conduit 8 by means of a glass or quartz end closure, the resulting radiation being accelerated and directed immediately upstream thereof, for instance by an ultimate coil (not shown) surrounding conduit 8. However, tube 9 substantially improves the results obtained.
Reference is next had to Figures 5 and 6, which illustrate an alternative embodiment of th apparatus according to this invention, wherein components performing like functions are designated by the same reference numerals as those on Figures 1 and 3, followed by the “prime” symbol.
In Figure 5, the disposition of the conduits with respect to tubes 1’ and 9’, magnetron 7’ and cyclotron 4’, differs from that of Figure 1 and has been used with success by the applicant. The waveguide 6’ of magnetron 7’ is connected to the extremity of tube 1’, while conduit 3’ conveying the resulting radiation divides into two branches: branch 25 surrounded by accelerating coils 14c’ and 15c’, which conveys the radiation directly to tube 9’ and branch 37 which conveys its to cyclotron 4’. The latter arrests the electromagnetic radiation and accelerates the radiated particles which are dispatched into tube 9’ through conduit 38.
This particular disposition can be used with particle-emitting and accelerating-and-directing tubes similar to tubes 1 and 9 of the preceding figures. However, the tubes 1’ and 9’ of Figures 5 and 6 are designed differently insofar as their cathodes and anodes are concerned.
Tube 1’ includes a first electrode 11’ exactly similar to the cathode 11 of tube 1, and a second identical electrode 39 provided with a heating filament 39a. Tube 9’ (see Figure 6) includes in its lower part a first electrode 17’ with its heating filament 17’a, and a second identical electrode 40 with its heating filament 40a.
In normal operation, i.e., to produce a radiation identical to that described with reference to Figures 1 through 4, electrode 11’ serves as a cathode and electrode 39 is subjected to a positive potential and performs the function of plate 10 of Figure 1m the filament 39a not being heated. Electrode 40 and its filament 40a are placed out of circuit, and cathode 17’ and plate 22’ are energized as in the case of Figure 3.
To obtain unusually penetrating radiation, the polarities are reversed: electrode 11’ becomes an anode and its filament 11’e is placed out of circuit, while electrode 39 is energized as a cathode and its filament 39a is heated; electrode 17’ (the filament 17’a of which is out of circuit) and electrode 22’ become anodes, while electrode 40 is connected as a cathode and its filament 40a is heated. By way of example, it is possible to establish a potential of 250,000 volts across electrodes 40 and 17’, and of 50,000 volts across electrodes 40 and 22’. It will be appreciated that, this being so, cathode 39 will emit a stream of electrons leftwardly, which will be concentrated, modulated and accelerated by the various coils as well as in the cyclotron, the polarities of which must manifestly be established in the suitable sense. This electron radiation is combined with the centimetric radiation emitted by magnetron 7’, and there results in tube 9’ a very hard emission, modulated to the chosen frequencies of x-rays combined with the centimetric radiation of desired frequency.
Thus, the apparatus of Figures 5 and 6 permits obtaining at will wither this very hard x-ray emission, or the radiation described with reference to the preceding figures. If the very hard x-ray emission is obtained, converter set 31 is preferably adjusted to feed coils 15’, 16’ and 26’ with a current modulated at the highest frequencies (i.e., close to 900 cps).
The description which follows with reference to Figures 7 through 9 relates to a number of features of the devices utilized for obtaining modulation of the electric current.
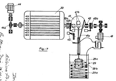
Figure 7 is a schematic illustration of the control system of resistor 29 and variometer 30. Adjustable resistor 29 is provided with a graphite helical member 29a immersed in a conductive liquid 29b into which dips partly a graphite electrode 29c to which a reciprocating motion is imparted by a connecting rod 41a pivotally connected to a flywheel 41. The latter is rotated through an endless screw transmission 41b by a shaft 42b, either by a motor 43 or by the shaft 30a of variometer 30, which variometer is in turn driven by a motor 44 through an endless screw type transmission 44a.
Reciprocating movement of electrode 29c will vary the surface thereof which dips into the conductive liquid 29b, and accordingly will vary the resistance between electrodes 29, 29a of resistor 29, at a rhythm which is equal t the rpm imparted to flywheel 41. Rhythmically variable resistor 29 is shunted by a resistor which is shown diagrammatically, resulting in a component having a rhythmically variable resistance, which is inserted in the line (Figure 4) feeding electromagnets 13, 23 with rectified current delivered by rectifier 28.
If flywheel 41 is driven by motor 43 at suitable speed, resistor 29 will vary the current energizing electromagnets 13 and 23 (Figures 1 and 4) a the chosen rhythm which, as explained above, can be included between 30 and 120 pulses per minute and which can be monitored by means of a revolution-counter represented schematically at 45. When this is the case, motor 44 of variometer 30 can be stopped, thus no longer subjecting the remainder of the system to a set pace. Conversely, if the drive to flywheel 41 is engaged at 42b and released at 42a, motor 44 will act as a pace-maker for variometer 30 and resistor 29.
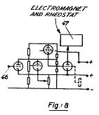
The rotational speed of motors 43 or 44 can be adjusted to an appropriate speed corresponding substantially to the patient’s pulse rate, by operating on the exciter of said motors by means of a manually adjustable rheostat. Should it be preferred to have the speed of motors 43 or 44 governed directly by the patient’s pulse rate, a device such as the one illustrated schematically in Figure 8 can be resorted to. In Figure 8, a contact type microphone is connected at 46 and produces pulses when placed on the patient’s heart. These pulses are amplified in the circuit shown and are applied to an electromagnet represented at 47, of which the moving core operates a rheostat for adjusting the excitation current to motors 43 or 44.
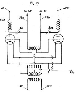
Figure 9 is the circuit diagram of oscillating circuit 35. The rectified voltage adjustable between 5000 and 70,000 volts by means of rheostat 34 (see Figure 4) is applied across terminals 48 and 48a. Terminal 35c (which is also connected to electrode 25 in Figures 2 and 4) is connected to the neutral point, on the high tension side, of the transformer which is a component port of voltage step-up device 33 (See Figure 4). Terminals 49 and 49a receive the heating current produced by resistor 29. Adjustable capacitors 50 and 50a permit of adjusting the current available across the output terminals 25a and 25b of the oscillator represented to the desired wavelength (which, as already indicated, lies between 1 m and 18 m).
Although the specific embodiments described hereinbefore have been experimented with successfully, it goes without saying that they are given by way of example only and could be variously modified without departing from the spirit and scope of the invention. In particular, the electron gun 1 or 1’ could be replaced by any other convenient particle emitter.
What I claim is: [ Claims not included here ]
** US Patent # 3, 3468,155 is identical to USP # 3,280,816, “Apparatus for Producing Radiations Penetating Living Cells” (US Cl. 328-233, 6 Feb. 1968).
Patent Number: FR2408357 (Treatment of a patient by negative ions)
Publication date: 1979-06-08
Applicant(s): PRIORE ANTOINE (FR)
Requested Patent: WO8000918
Application Number: FR19770031159 19771017
Priority Number(s): FR19770031159 19771017
IPC Classification: A61N1/44; C07C179/00
EC Classification: A61N1/10, A61N1/44
Equivalents: BE871848
Abstract ~
Treatment of a patient by negative ions. The patient (12) is subjected in an inhalation cabine (11) to an electrostatic field generated between the floor (11b) and a pin plate (11a) by an electrostatic machine (13) providing an adjustable voltage of 10,000 to 80,000 volts. The negative ions are generated by a pin grid (9a) submitted to a negative potential of 10,000 to 80,000 volts, in an air flow charged with peroxides produced by the cracking, in an hydrogen burner (5), of hydrocarbon vapors introduced by bubbling (3) in the combustive air.




Background of Antoine Prioré and L’Affaire PrioréTom Bearden (2001)
( cheniere.org/books/aids/appendixI.htm ~ Christopher Bird: “The Case of Antoine Priore and His Therapeutic Machine: A Scandal in the Politics of Science” )
See also:
ifisoft.ch/test/pdf/bearden/FinalBriefing.pdf
cheniere.org/books/aids/priorenontech.htm
cheniere.org/briefings/porthole/synopsis.htm
cheniere.org/correspondence/042503.htm
cheniere.org/correspondence/070203a.htm
cheniere.org/correspondence/101503.htm
cheniere.org/correspondence/070901.htm
cheniere.org/priore/background.htm
cheniere.org/articles/index.html
cheniere.org/briefings/priore%20process/trz.htm
cheniere.org/images/dossier%20priore/index.html
cheniere.org/books/aids/priore.htm
cheniere.org/briefings/DoDPriore/index.html
cheniere.org/books/cancer/cancer.htm
cheniere.org/books/excalibur/priore_machine.htm
Dedication: This short paper is dedicated to the memory of the late Chris Bird, a noted researcher, colleague, and stalwart friend who first acquainted me with the Prioré affair and with the remarkable results that were obtained by Prioré and his associates. Some months prior to his passing, Chris gave me most of his most important Prioré file, including the thesis submitted by Prioré to the University of Bordeaux (the actual document itself). We sorely miss his booming voice and ever cheerful encouragement.
We also express our deep thanks to my colleague Alain Beaulieu for translating the Prioré thesis and several other important French documents dealing with the Prioré affair.
We further reiterate our remembrances to Bob Whitney and Frank Golden, when we tried so hard to revive the Prioré machine and work while Prioré was still alive. For our efforts we were resoundingly suppressed. God willing, your efforts will yet prove to have been worthwhile. At least we have finally deciphered the exact mechanism by which the Prioré machine was able to accomplish its astonishing cures. We shall continue striving to see that the Prioré work has not been in vain, and that at some point the scientific community accepts and uses the fact that Prioré had discovered how to time-reverse the treated diseased cells back to a previous healthy cell state.
Antoine Prioré was born in Italy. He graduated from a small provincial school for electricity in Trieste, Italy and became a radar technician and operator in the Italian Navy. By some manner he became a prisoner of the Germans (apparently after Italy left the war in WW II), and was moved as a forced laborer for the Nazi to the vicinity of the submarine base in Bordeaux, France.
When it became obvious the Germans were losing the war and were preparing to leave, Prioré realized he would be killed. He approached a French police agent to plead for his life. That police officer worked clandestinely for the French underground. He put Prioré in his car and drove him out of the base to safety. He took Prioré to the nearby province of Dordogne, and introduced him to the 7th Battalion of French underground resistance fighters. Prioré distinguished himself in military operations and was eventually decorated by the French Government.
Thankful to the French for saving his life, and loyal to his French companions-in-arms, Prioré decided after the war to live in Bordeaux. He was encouraged by his French resistance friends such as Jacques Chaban-Delmas who later rose to become the French Prime Minister.
For some time Prioré worked as an electrical repairman and did research on exposing plants, etc. to EM radiation.
Prioré was introduced to Francis Berlureau, former Director of Studies at the School for Veterinary Medicine in Toulouise, and director of the Bordeaux abbatoir at the time. He worked together with Berlureau for some 10 years. He noticed effects on a cancerous bull’s testicles, then began exposing various animals such as cats to the radiations of his early apparatus. The histological work was done by Professor Drieux at the famous Veterinarian School of Maisons-Allfort, near Paris. Drieux wrote a technical report proving that the cat’s cancer, developing before treatment, was benign after treatment.
By 1953 Prioré began treating human patients whose cancers had been judged hopeless. Fournier maintained a huge file of such human cases, but the file later was mysteriously lost. Nonetheless, Prioré cured cases of a malignant form of Hodgkin’s disease, a case of cancer of the larynx, etc.
Attempts to interest leading Bordeaux physicists and leading cancer experts in the results of the new approach were laughed off or dismissed with stony silence.
Prioré’s response was to build a new and more complicated version of his treatment device. Secretly he treated dozens of hopeless cancer patients. At Prioré’s funeral, a small platoon of mourners was composed of the now-older people who had been cured of their terrible afflictions by Prioré in the late 1950s.
He was introduced to Professor Tayeau, vice dean of Bordeaux’s Medical Faculty, in latter 1959—early 1960. Prioré was sent to Biraben, head of the Faculty’s Department of Pathological Anatomy, and his assistant, Delmon. To their utter surprise, grafted T-8 tumors in animals subsequently treated with Prioré’s machine were reduced by 60%, a first in the history of cancerology.
The mayor of Bordeaux, who later became prime minister of France, was Jacques Chaban-Delmas. He was a fellow resistance fighter and very interested in Prioré’s work. Chaban-Delmas invoked two commissions of Bordeaux and Parisian scientists to study the Biraben-Delmon results in detail. Both commissions rejected Prioré and his machine offhandedly. Biraben and Delmon could not explain the nature of the radiations from Prioré’s machine. A certain professor Lachapele on the first commission was ever an ardent foe of the Prioré method, dismissing the results offhand because the tumors were grafted. His view prevailed. Neither of the commissions interviewed Prioré himself, nor did they run an experiment under their own control.
Biraben and Delmon continued their experiments, achieving unequivocal and complete success, but because of the political climate in the medical community, did not publish these outstanding results. Biraben, e.g., was told he could either get his degree or publish his research, but not both. Biraben and Delmon finally published a memoir in the Revue of Comparative Pathology. But a vicious campaign to destroy the Prioré work and suppress it was already underway.
Other persons involved with L’affair Prioré were: Professor Guerin, at the cancer institute at Villejuif (equivalent to the American National Cancer Institute in Bathesda, Maryland). Buerin was a co-discoverer of the T-8 tumor. Guerin assigned his colleague Marcel-René Riviére to delve into the entire question. Reviére confirmed the Biraben-Delmon findings. A note was sent for publication in the Proceedings of the French Academy of Science. Reviére also tested the Prioré Ray against other types of tumors, achieving spectacular results.
Robert Courrier, an eminent endocrinologist still in his 30s, a full professor, and Secrétaire Perpétuel to the Academy of Sciences and head of the biology section (and later to become President of the Academy of Medicine), took up the cudgel to interest high French scientists and scientific agencies. The CNRS director took offense because Prioré was essentially self-taught and not academically credentialed. Others did not understand anything at all about the machine’s operation. To Bordeaux, Courier sent his trusted assistant Madame Cologne, to repeat Riviére’s experiments under her personal supervision. A physicist sent to examine the machine could make “neither heads nor tails” of its operation. There is little wonder! The Prioré machine involved a dramatic extension to present nonlinear phase conjugate optics (NLO) before NLO was even born! It also involved a dramatic extension to both U(1) electrodynamics and to general relativity. It is also little wonder that Prioré, who discovered the process by intuition and by trial and error, could not explain the operation of his own machine or the mechanism by means of which the cures were accomplished by the “ray” emitted by his device. In fact, the best physicists in France could not comprehend or explain the mechanism whereby such spectacular results were produced by Prioré’s machine when used to treat patients with non-ionizing EM radiation from it.
On May 1, 1965, Robert Courrier formally presented the astounding Prioré results to the assembled French Academy of Science. He was met with stony silence. A leading cancer specialist even stalked out of the assembly hall in full view. No serious discussion among the scientists present at the meeting ever took place.
Controversy and research continued, in the midst of a raging controversy over “l’Affair Prioré”.
Prioré’s sister in Italy then came down with cancer. Prioré issued an ultimatum to his associates to build the bigger machine he needed, so that he could save his sister’s life. Conventional engineers repeatedly changed Prioré’s design, thinking many components unnecessary, etc. and causing machine failures. Prioré’s sister died (mid-60s) before the machine could be finished because of these unnecessary setbacks. A grief-stricken Prioré went into isolation, unwilling to talk to anyone.
In early 1967, Professor Raymond Pautrizel entered the picture. At 40, Pautrizel was an eminent parasitologist, on the Faculty of Medicine at Bordeaux, and soon became known worldwide as the “father of parasitological immunity.” Pautrizel was awarded the first academic chair in France for immunology, and later headed a special unit on parasitological immunology. [This subject is of particular significance to the study of AIDS, because it deals also with the continual adaptation and genetic change of the invading parasites and agents.] Pautrizel specialized on a particularly lethal parasite, the trypanosome family (which causes sleeping sickness, equine syphilis, and other afflictions). Pautrizel was one of the first scientists to recognize and utilize ambivalence in biological drugs. Pautrizel also noticed that the Prioré ray was not killing the tumor cells, and therefore must be doing something else instead. Pautrizel personally persuaded the distraught Prioré to return to work.
From 1966 on, many papers were published on the results of applying the Prioré technique to various animals and diseases. The results continued to be revolutionary.
Another scientist-ally of Prioré’s was Pierette Chateau-Reynaud Duprat. Over the years she worked with the Prioré method, showing that the Prioré ray had no direct effect on the trypanosomes themselves but stimulated and reinforced the defense mechanism of the infested organisms. [No one knew to investigate the regenerative system of the body, poorly understood and using the very kind of infolded EM extension to NLO that Prioré’s ray used.] The ray was shown to cause the rejection of both allografts and isografts, so that the machine affected not only the defense mechanisms of the organism but also the recognition system. The original P-1 (Prioré 1) machine affected cellular defense mechanisms. The second machine, P-2, seemed to act not on the cellular but on the humoral defense mechanisms.
Prioré himself also cured cases of malaria and also tuberculosis in humans, but apparently did not publish these results.
Biologist André Lwoff went from an ardent skeptic to an admirer and supporter of Prioré’s work, because of the undisputed results. His favorable opinion of the Prioré results prevailed in a DRME report on the matter, which was classified for some years. A synthesis of the report was published in November 1979 by Herbert Gossot, Secretary General for the French Association for Bioelectromagnetism. Its title was, “A Scientific Balance Sheet on the Prioré Ray.” It reports that two physicists who studied the machine in detail favorably correlated the machine’s ray to the results produced, and confirmed the biological efficacy of Prioré’s device. The two physicists were named Bottreau and Berteau. In their note to L’Academie, they were not allowed to even use the names of the laboratories where they worked, which were (1) the CNRS Magnetic Laboratory at Bellevue near Paris, and (2) the Laboratory of Ultra-Hertzian Optics and Talence near Bordeaux.
Eventually the French Government backed the construction of a more powerful Prioré device. Professor Courrier had also sent a report on Pautrizel’s behalf to the Nobel Committee in 1979. The M-600 machine was built but its huge tube functioned only about a week before it exploded. Meanwhile Pautrizel, working with a smaller machine, verified the utility of the Prioré Ray on atherosclerosis. Rebuilding the M-600 went slowly. The machine weighed some 50 tons and required 3-1/2 stories to contain it. The pyrex tube was 60 cm in diameter and 6 meters tall. It imploded twice and was replaced each time. The coil which generated the DC-pulsed magnetic field weighed 5.5 tons and had 11 miles of copper wire. During the week or 10 days that the machine was in operation, the results were formidable. The results were presented in notes to the Academy of Sciences by Pautrizel and his team in 1978.
Pautrizel then came under suppression himself, with funds being pulled, postings being denied, etc. Pautrizel eventually became so emotionally overwrought that he gave up his medical career and retired and gave himself over to alcohol. Every one of the collaborators of Pautrizel saw their careers put in jeopardy, compromised, or broken.
About this time Prioré’s doctoral thesis, backed by both Pautrizel and Nobel Laureate André Lwoff himself, was summarily refused by the President of the University of Bordeaux.
In 1977 Professor Georges Dubourg urged Prioré to treat human cancer patients and jolt the medical establishment. Pautrizel contacted Courrier, who gave the green light. A few terminal cancer patients whose immune defense systems had been disastrously weakened by chemotherapy or radiation or both, were treated. At least one was totally cured. The others lived, without pain, for much longer than predicted by standard prognosis. The results were submitted to the French Academy of Medicine for publication – and were rejected.
Pautrizel in final desperation turned to a journalist, Jean-Michel Graille, to tell the story. Graille researched for four years, publishing three long articles in Sud-Ouest France, and finally a book, Dossier Priore: Une Nouvelle Affaire Pasteur. [The Prioré Dossier: A New Pasteur Affair?] De Noel, Paris, 1984. [in French].
From 1965 to 1980, the Prioré project spent about 20 million francs. Results were positively demonstrated, many of them sensational.
Prioré suffered a debilitating stroke or similar complication in 1981 and died in May 1983 after a lengthy debilitated period.
Admiral Pierre Emeury, conseiller scientifique de la presidence, discovered L’Affaire Prioré. His inquest led him to conclude that the Prioré discovery was the most important medical discovery of the entire century.
The suppression of such a revolutionary discovery, even though its technical methodology was not understood, remains one of the heinous examples of scientific dogma blocking highly innovative research and results. Untold millions of human lives would have been saved had science and government acted along scientific lines.
References Related to Results Achieved by Antoine Prioré and Colleagues
Bateman, J. B. (1978) A Biologically Active Combination of Modulated Magnetic and Microwave Fields: The Prioré Machine, Office of Naval Research, London, Report R-5-78, Aug. 16, 1978. 26 p. Deals with the Prioré device and its treatment and positive cures of cancer and leukemia, including terminal cases in numerous laboratory animals. Bateman is not particularly sympathetic, but realizes that somehow, something extraordinary has been uncovered. Bateman comes very close when he states that “The possibility that some hitherto unrecognized feature of the radiation from a rotating plasma may be responsible for the Prioré effects should not be dismissed out of hand…”. He was quite correct: It was the longitudinal EM radiations and their induction of time-domain pumping of the nonlinear cells and every part of them that provided the cellular time reversal from the diseased state back to the previous healthy state.
Bateman, J. B. (1977) “Microwave Magic,” Office of Naval Research London Conference Report, ONRL C-14-77, 1977. Deals with the Prioré device and its treatment and positive cures of cancer and leukemia, including terminal cases in numerous laboratory animals.
Bateman, J. B. (1978) “Staging the Perils of Nonionizing Waves.” European Scientific Notes, ESN 32-3-85-88, 1978.
Berteaud, A. J. and A. M. Bottreau, “Analyse des rayonnements électromagnétiques émis par l’appareil Prioré,” [Analysis of the electromagnetic radiations emitted by the Prioré apparatus], D.R.M.E., 1971, p. 3-12.
Berteaud, A. J.; A. M. Bottreau, A. Prioré, A. N. Pautrizel, F. Berlureau, and R. Pautrizel. (1971) “Essai de corrélation entre l’évolution d’une affection par Trypanosoma equiperdum et l’action d’une onde électromagnétique pulsée et modulée.” [Trial of the correlation between the evolution of a disease by Trypanosoma equiperdum and the action of a pulsating and modulated electromagnetic wave.] Compt. Rend. Acad. Sci. (Paris), Vol. 272, 1971, p. 1003-1006. [In French].
Bird, Christopher. (1994) “The Case of Antoine Prioré and His Therapeutic Machine: A Scandal in the Politics of Science.” Explore!, 5(5-6), 1994, p. 97-110. An updated exposition by Bird on the entire Prioré Affair.
Cambar, R. (1969) “Rapport general des travaux de la Commission de Contrôle constituée en vue de vérifier l’un des effets biologiques obtenu par l’utilisation de l’appareillage de Prioré A. Bordeaux,” [General findings of the work of the control commission formed to verify one of the biological effects obtained by use of the apparatus of A. Prioré at Bordeaux], 1969, 1 vol.
Courrier, R. (1977) “Exposé par M. le Professeur R. Courrier, Secretaire Perpetuel de L’Academie des Sciences fait au cours d’une reunion a L’Institut sur les effets de la Machine de M.A. Prioré le 26 Avril 1977.” [Presentation by Professeur R. Courrier, Perpetual Secretary of the Academy of Sciences, made at the meeting of the Academy on the effects of the machine of M.A. Prioré.] [In French] Courrier’s presentation of the Prioré machine and its positive cures of terminal cancers and leukemias in laboratory animals, under proper scientific protocols.
Delmon, G. and J. Biraben (1966) “La croissance du carcinome de Guerin sour l’action de champs électromagnétiques.” [The growth of carcinoma treated by the action of electromagnetic fields.] Rev. Path. Comp., 3(2), 1966, p. 85-88.
Doubourg, G., G. Courty, A. Prioré, and R. Pautrizel. (1979) “Stimulation des défenses de l’organisme par association d’un rayonnement électromagnétique pulsé et d’un champ magnétique: tentatives d’application au traitement du cancer chez l’Homme.” [Stimulation of an organism’s defenses by association with pulsed electromagnetic radiation and a magnetic field: Preliminary findings in the application to treatment of human cancer], Laboratoire d’Immunologie et de Biologie Parasitaire, Université Bordeaux II, 1979, p. 1-5.
Graille, Jean-Michel. (1984) Dossier Prioré: Une Nouvelle Affaire Pasteur. [The Prioré Dossier: A New Pasteur Affair?] De Noel, Paris, 1984. [in French]. Tumor radiotherapy and neoplasms. Details the entire Prioré affair. Prioré was an inventor who developed an electromagnetic machine that cured terminal tumors in laboratory animals under rigorous scientific protocols and while working with eminent French scientists. Treatment with the device also cured arteriosclerosis (clogged arteries) in lab animals, cured sleeping sickness, and restored suppressed immune systems. The results of the supervised tests are presented in the conventional peer-reviewed French medical literature in a number of papers, many of which are by leading, even world-renowned French scientists.
“Le Probleme Prioré,” Rapport de la Commission de l’Académie des Sciences à Monsieur le Ministre d’Etat chargé de la Recherche et de la Technologie, 1982, p. 1-22.
Mayer, G.; A. Prioré, G. Mayer and R. Pautrizel. (1972) “Action de champs magnétiques associés à des ondes électromagnétiques sur l’orchite trypanosomienne due lapin.” [Action of magnetic fields associated with electromagnetic waves on the typanosomian orchitis of the rabbit.] Compt. Rend. Acad. Sci. (Paris), Vol. 274, 1972, p. 3011-3014. [In French]
Comment: Orchitis is inflammation of a testes. Trypanosomes are protozoan flagellates of genus trypanosoma which infect humans and animals and are responsible for various serious diseases such as Chaga’s disease, dourine, nagana, sleeping sickness, and surra. Chaga’s disease is marked by prolonged high fever, edema, and enlargement of the spleen, liver, and lymph nodes. Dourine is a disease favoring horses and asses, marked by inflammation of the genitals, subcutaneous edematous plaques, low-grade fever, progressive paralysis, emaciation, and death. Nagana is a highly fatal disease in/of domestic animals in tropical Africa marked by fluctuating fever, inappetance, edematous swelling, and sluggishness, and is transmitted by the tsetse fly and possibly by other biting flies. Sleeping sickness is a serious disease that is prevalent in much of tropical Africa; it is marked by fever, protracted lethargy, tremors, and loss of weight, and is transmitted by tsetse flies. Surra is a severe Old World febrile and hemorrhagic disease of domestic animals and is transmitted by biting insects.
Pautrizel, R. (1979) Letter to his colleagues at the University of Bordeaux, Sept. 11, 1979.
Pautrizel, R. (1969) Letter to his colleagues, Mar. 26, 1969.
Pautrizel, R., M.R. Riviere, A. Prioré, and F. Berlureau. (1966) “Influence d’ondes électromagnétiques et de champs magnétiques associés sur l’immunité de la souris infestée par Trypanosoma equiperdum,” [Influence of electromagnetic waves and associated magnetic fields on the immunity of the mouse infected with the Trypanosoma equiperdum], Compt. Rend. Acad. Sci. (Paris), 1966, Vol. 263, p. 579-582. [in French].
Pautrizel, R.; A. Prioré, F. Berlureau, and A.N. Pautrizel. (1969) “Stimulation, par des moyens physiques, des défenses de la Souris et du Rat contre la trypanosomose expérimentale.” [Stimulation, by physical means, of defenses of the mouse and of the rat against the experimental Trypanosoma.] Compt. Rend. Acad. Sci. (Paris), Vol. 268, 1969, p. 1889-1892. [In French].
Pautrizel, R., A. Prioré, A.N. Pautrizel, and P. Chateau-Reynaud-Duprat. (1979) “Guérison de la trypanosomiase expérimentale par l’association de champs magnétiques et d’ondes électromagnétiques,” [Cure of experimental trypanosomiasis by associated magnetic fields and electromagnetic waves], Symposium International de Thérapeutiques Ondulatoires, Versailles, 1979, p. 9.
Pautrizel, R., A. Prioré, A.N. Pautrizel, and P. Chateau-Reynaud-Duprat. (1979) “Guérison de la trypanosomiase expérimentale par l’association de champs magnétiques et d’ondes électromagnétiques: une stimulation des defenses de l’organisme-hôte.” [Cure of experimental trypanosomiasis by associated magnetic fields and electromagnetic waves: a stimulation of the host organism’s defenses.]. Journées Nationales Microondes – Colloque Hertzienne et Diélectriques, Lille-Villeneuve, Université des Sciences et Techniques, 1979, p. 210.
Pautrizel, R.; A. Prioré, F. Berlureau, and A.N. Pautrizel. (1970) “Action de champs magnétiques combinés à des ondes électromagnétiques sur la trypanosomose expérimentale du Lapin.” [Action of magnetic fields combined with electromagnetic waves on the experimental trypanosoma of the rabbit.] Compt. Rend. Acad. Sci. (Paris), Vol. 271, 1970, p. 877-880.
Pautrizel, R.; A. Prioré, M. Dallochio and R. Crockett. (1972) “Action d’ondes électromagnétiques et de champs magnétiques sur les modifications lipidiques provoquées chez le Lapin par l’administration d’un régime alimentaire hypercholestérolé.” [Action of electromagnetic waves and magnetic fields on provoked lipidic modifications in the rabbit by the administration of a hypercholesterol diet.] Compt. Rend. Acad. Sci. (Paris), Vol. 274, 1972, p. 488-491. [In French]. Reports curing of high cholesterol condition, clogged arteries, etc.
Pautrizel, R.; A. Prioré, P. Mattern, and A. N. Pautrizel. (1975) “Stimulation des défenses de la souris trypanosomée par l’action d’un rayonnement associant champ magnétique et ondes électromagnétiques.” [Stimulation of the defenses of the trypanosomized mouse by the action of irradiation by an associated magnetic field and electromagnetic waves.” Compt. Rend. Acad. Sci. (Paris), Vol. 280, 1975, p. 1915-1918. [In French]
Pautrizel, R.; A. Prioré, P. Mattern, A. N. Pautrizel, and A. Capbern. (1975) “Guérison de la trypanosomiase chronique du Lapin à Trypanosoma equiperdum par l’action combinée de champs magnétiques et d’ondes électromagnétiques modulés.” [Healing of chronic trypanosomiasis by trypanosoma equiperdum of the rabbit by the combined action of magnetic waves and modulated electromagnetic waves.] J. Protozoology, Vol. 22, No. 3, 1975, p. A 84.
Pautrizel, R. (1976) “La trypanosomiase experimentale: stimulation des defenses de L’organisme par des moyens physiques.” [Experimental trypanosomiasis: stimulation of the organism’s defenses by physical means.] XVIIth Seminar on Trypanosomiasis Research, Londres, 22-23 Sept. 1976.
Pautrizel, R.; P. Mattern, A. N. Pautrizel, and A. Prioré. (1977) “Effets des champs magnétiques et des ondes électromagnétiques modulées sur la trypanosomiase expérimentale.” [Effect of magnetic fields and modulated electromagnetic waves on experimental trypanosomiasis]. Ann. Soc. Belge Med. trop. [Annals of the Belgium Society of Tropical Medicine], Vol. 57, 1977, p. 501-523.
Pautrizel, R, P. Mattern, A. Prioré, A. N. Pautrizel, A. Capbern, and T. Baltz. (1978) “Importance des mécanismes immunitaires dans la guérison de la trypanosomiase expérimentale par stimulation physique.” [Importance of immune mechanisms in the cure of experimental trypanosomiasis by physical stimulation.] Compt. Rend. Acad. Sci. (Paris), Vol. 286, 1978, p. 1487-1492. [In French]
Pautrizel, R., A. Prioré, A. N. Pautrizel, and P. Chateaureynaud-Duprat. (1978) “Importance de l’âge de la souris sur l’efficacité de la stimulation de ses défenses par un rayonnement électromagnétique.” [Importance of the age of the mouse on the efficacy of the stimulation of its defenses by electromagnetic radiation]. Compt. Rend. Acad. Sci. (Paris), Vol. 287, 1978, p. 575-578.
Pautrizel, R. and A. Prioré. (1979) “Un aspect spectaculaire du bioélectromagnétisme: permettre à l’organisme de se débarrasser d’un infection aiguë ou chronique sans l’aide d’aucune substance médicamenteuse.” [A spectacular aspect of bioelectromagnetism: Permitting the organism to rid itself of an old or chronic infection without the aid of any medical substance.] 104éme Congrés National des Sociétés Savantes, Bordeaux, 17-21 Avril 1979, Sciences section, p. 112.
Pautrizel, R.; P. Mattern, A. Prioré, A. N. Pautrizel, and D. Bernard. (1971) “Etat de protection vis-à-vis de Trypanosoma equiperdum chex des souris splénectomisées et soumises à une stimulation physique.” [State of protection versus trypanosome equiperdum of splenectomized mice submitted to physical stimulation], ler Multicolloque Européen de Parasitologie, Rennes, 1 au 4, Septembre 1971, p. 116-118.
Pautrizel, R., A. Prioré, P. Chateaureynaud-Duprat, and A. N. Pautrizel. (1981) “Immunostimulation by electromagnetic waves compared with effects of hyperthermia.” 9th International Congress of Biometerology, Osnabrueck, 1981, p. 126-127.
Pautrizel, R, P. Chateaureynaud, A. N. Pautrizel, G. Mayer, and A. Prioré. (1983) “Stimulation of protection mechanisms by magnetic fields and electromagnetic waves (Prioré apparatus).” First Symposium of the International Society of Bioelectricity, Oct. 1, 1983, Boston, U.S.A.
Perisse, Eric. (1984) Effets des Ondes Electromagnétiques et des Champs Magnétiques sur le Cancer et la Trypanosomiase Experimental. [Effects of electromagnetic waves and magnetic fields on cancer and experimental trypanosmiasis] Doctoral thesis, University of Bordeaux II, No. 83, Mar. 16, 1984. [In French] Presents the results of experimental work with the Prioré machine in curing cancer and other diseases such as trypanosomiasis. This thesis was in a way a triumph for Pautrizel, who finally succeeded in getting the Prioré work in a doctoral thesis at the University of Bordeaux, some 11 years after Prioré’s own thesis was rejected due to extreme pressure from the French scientific community and ruthless suppression of the Prioré project.
Prioré, Antoine. (1963) “Procede et dispositif de production de rayonnements utilisables notamment pour le traitement de cellules vivantes.” [Procedure and Assemblage for Production of Radiation Especially Serviceable for the Treatment of Living Cells.] Republique Francais: Brevet d’Invention P.V. No. 899.414, No. 1,342,772, Oct. 7, 1963. Antoine Prioré’s electromagnetic treatment device which demonstrated positive cures for terminal cancers and leukemias in laboratory animals.
Prioré, A. (1966) “Method of producing radiations for penetrating living cells,” U.S. Patent No. 3,280,816, Oct. 25, 1966. Antoine Prioré’s method of producing his “conditioned” radiations used to treat cellular diseases.
Prioré, A. (1968). “Apparatus for producing radiations penetrating living cells.” U.S. Patent No. 3,368,155. Feb. 6, 1968. Antoine Prioré’s electromagnetic treatment device which demonstrated positive cures for terminal cancers and leukemias in laboratory animals.
Prioré, Antoine. (1973) Guérison de la Trypanosomiase Expérimentale Aiguë et Chronique par L’action Combinée de Champs Magnétiques et D’Ondes Electromagnétiques Modulés. [Healing of intense and chronic experimental trypanosomiasis by the combined action of magnetic fields and modulated electromagnetic waves], thesis submitted in candidacy for the doctoral degree, 1973. This is Prioré’s original doctoral thesis, submitted to the University of Bordeaux. The university rejected the thesis when the Prioré project was suppressed.
Prioré, A. (1973) “Etude du rayonnement émis in: Guérison de la trypanosomiase expérimentale aiguë et chronique par l’action combinée de champs magnétiques et d’ondes électromagnétiques modulés.” [“Study of the radiation emitted in: Healing of intense and chronic experimental trypanosomiasis by the combined action of magnetic fields and modulated electromagnetic waves]. Laboratoire d’Immunologie et de Biologie Parasitaire, Bordeaux, 1973, Chap. 1, p. 5-7.
Riviere, M. R., A. Prioré, F. Berlureau, M. Fournier and M. Guerin. (1965) “Phénomènes de régression observés sur les greffes d’un lymphosarcome chez des souris exposées a des champs électromagnétiques.” [Phenomena of regression observed on the graftings of a lymphosarcoma in mice exposed to electromagnetic fields]. Compt. Rend. Acad. Sci. (Paris), Vol. 260, 1965, p. 2639-2643 [in French]. This reports the curing of lymphosarcoma, which is a malignant lymphoma that tends to metastasize freely and spread throughout the body. It easily leads to the condition of lymphomatosis, which is the presence of multiple lymphomas in the body, including wide distribution through the various organs, lymph tissue, and tissue resembling lymph tissue.
Riviere, M. R.; A. Prioré, F. Berlureau, M. Fournier and M. Guerin. (1964) “Action de champs électromagnétiques sur les greffes de la tumeur T8 chez le Rat.” [Action of the electromagnetic fields on the graftings of the T8 tumor in rats.” Compt. Rend. Acad. Sci. (Paris), Vol. 259, 1964, p. 4895-4897.
Riviere, M. R.; A. Prioré, F. Berlureau, M. Fournier and M. Guerin. (1965) “Effets de champs électromagnétiques sur un lymphosarcome lymphoblastique transplantable du Rat.” [Effects of electromagnetic fields on lymphoblastic lymphosarcoma transplantable from a rat.] Compt. Rend. Acad. Sci. (Paris), Vol. 260, 1965, p. 2099-2102.
Comment: Lymphosarcoma is a malignant lymphoma (malignant tumor of lymph or lymph-like tissue) that tends to metastasize freely and spread throughout the body. It easily leads to the condition of lymphomatosis, which is the presence of multiple lymphomas in the body, including wide distribution through the various organs, lymph tissue, and tissue resembling lymph tissue. A lymphoblast is a cell giving rise to lymphocytes, the colorless weakly motile cells produced in lymphoid tissue and include the cellular mediators of immunity, constituting some 20 to 30 percent of the leukocytes (white blood cells) of normal human blood. In effect the experimenters have healed a transplanted condition that represents a serious leukemia.
Riviere, M. R. and M. Guerin. (1966) “Nouvelles recherches effectuées chez des rats porteurs d’un lymphosarcome lymphoblastique soumis à l’action d’ondes électromagnétiques associées à des champs magnétiques.” [New research on rats having lymphoblastic lymphosarcoma, submitted to the action of electromagnetic waves associated with magnetic fields.] Compt. Rend. Acad. Sci. (Paris), Vol. 262, 1966, p. 2669-2672. Again, in effect the experimenters have healed a condition that represents a serious leukemia.
Rorvik, David M. (1975) “Do the French Have a Cure for Cancer?” Esquire, July 1975, p. 110-11, 142-149. Summary of the Prioré Affair and electromagnetic curing of diseases by the Prioré machine – including terminal tumors and infectious diseases such as sleeping sickness – with some details of the working of the machine.
Bearden Notes & References ~
Bearden, T. E. (1997) Energetics of Free Energy Systems and Vacuum Engine Therapies. Tara Publishing, Internet node www.tarapublishing.com/books, July 1997 (the site is possibly now no longer online). This book summarizes the author’s work in two areas: (i) overunity electromagnetic circuits and systems, and (ii) the Prioré medical therapy and the technical mechanism (pumping cells and all their parts in the infolded EM domain to cause the cell to form anti-disease vacuum engines).
Bearden, T. E. (1997) “Energetics Update and Summary,” Part I, Explore, 7(6), 1997, p. 60-67; Part II, Explore, 7(7), 1997, p. 53-56; Part III, Explore, 8(1), 1997, p. 53-56; Part IV, Explore, 8(3), 1997, p. 56-63. Summary to date (1997) of the author’s energy work in overunity EM systems, together with a summary to date of his work on the Prioré therapeutic methodology utilizing vacuum engines to cure cancer, dread infections, atheriosclerosis, and to restore suppressed immune systems.
Bearden, T. E. (1997-2001) Collection of various draft research papers and write-ups. Strongly updates and significantly expands version of work in 1998 and prior. Pumping any mass with longitudinal EM waves produces time-reversal of the pumped mass, and the mechanism and results must be interpreted by a combination of extended nonlinear optics for time domain pumping and general relativity. The correspondent to the NLO input “signal wave” in this case is the spacetime internested curvatures (the spacetime engine, or vacuum engine) associated with the pumped mass and all its parts, including even the quarks in its nucleons. The output is an amplified specific vacuum anti-engine, that precisely reverses the mass (either living or inert) back over its previous changes of 3-spatial form with respect to the flow of time. This is the fundamental mechanism utilized by the body’s Regeneration and Recovery (R&R) system, within its limitations. The Prioré approach used a far more powerful application of the body’s method by which the R&R system is able to slowly reverse cellular damage back to a previous earlier healthy state. The author has also extended the method by inputting an additional vacuum engine, so that time-reversal of the mass can be “steered” into any related form desired, whether or not the mass ever previously existed in that 3-spatial state. Eventually, we will probably produce a book from these research draft papers.
Bearden, T. E. (1995) “Vacuum Engines and Prioré’s Methodology: The True Science of Energy-Medicine. Parts I and II.” Explore!, 6(1), 1995, p. 66-76; 6(2), 1995, p. 50-62. Background and light technical coverage of Prioré’s work and methodology. For the educated layman.
Bearden, T .E. (1993) “Mechanism for Long-Term Cumulative Biological Effects of EM Radiation,” presented to the 70th Annual Meeting of the Alabama Academy of Science, University of Alabama at Huntsville, March 25, 1993. Presents a new definition of cancer, and a long-term cumulative mechanism for cancer incorporating all contributing factors. Cancer is often a result of the body’s electrical master cellular control system sending an order (a vacuum engine) to the most affected cells (in a long condition of hypoxic stress) to dedifferentiate back toward anaerobic cells, from their dim ancestry on the primeval earth. Explains in depth how the Prioré method causes an amplified counterorder (an amplified vacuum anti-engine) to be issued, redifferentiating the cancerous cell back to a normal cell. Note added: This entire engine-antiengine area and functioning can be adequately modeled in Evans’ O(3) electrodynamics as a subset of Sachs’ unified field theory.
Bearden, T. E. (1998) Letter to General (Retired) Walter Busbee, Assistant to the Secretary of Defense for Counterproliferation and Chemical/Biological Defense, Subject: “Saving the Lives of Mass BW Casualties from Terrorist BW Strikes on U.S. Population Centers,” April 2, 1998, 36 p. Explains that longitudinal EM wave pumping in the Prioré device was time-domain pumping. Viewed general relativistically, this temporal pumping produced a time-reversal of the entire cellular mass and all its components, from its diseased state back to a previous healthy state. Advances an extension to the method which allows the targeted “past” state to be deliberately determined as desired, whether or not the pumped mass ever possessed that physical state. Proposes a crash project to develop a portable Prioré-type treatment unit in 18 months, to be used in treatment of mass casualties after terrorist BW attacks on U.S. population centers. 36 p. Two color briefings and substantial background material were attached to the letter. The color briefing on weapons of mass destruction and treating the mass casualties, is now carried on http://www.cheniere.org .
Bearden, T. E. (1998) Executive Summary, “Saving the Lives of Mass BW Casualties in Our Population Centers,” Mar. 31, 1998. 2 p
Links
http://prioremachine.tripod.com/
www.bourbaki.de/A/A6.html
http://www.royalrife.com/priore.pdf
http://www.papimi.gr/bour02.htm
http://66.102.7.104/search?q=cache:c1j0aFmTIXgJ:www.papimi.gr/bour02.htm++Priore&hl=en (Google cache)
http://www.priore-cancer.com/index_uk.htm
http://66.102.7.104/search?q=cache:v_DMb3T5nT8J:www.priore-cancer.com/index_uk.htm++Priore&hl=en (Google cache)
http://lucadeparis.free.fr/infosweb/priore.htm
http://66.102.7.104/search?q=cache:SR1syd9_l0cJ:lucadeparis.free.fr/infosweb/priore.htm++Priore&hl=en (Google cache)



The Technical Breakdown (The “Physics of the Thread”)
Prioré’s machine wasn’t just a “frequency generator”; it was a Magnetohydrodynamic Wave Guide. Based on the Bateman report and the patents, here is the “recipe” for the Prioré Ray:
-
The Plasma: A rotating neon/argon plasma (turbulent and luminescent).
-
The UHF Component: A 9.4 GHz pulsed microwave (centimetric radiation).
-
The Magnetic Field: A massive 620 to 1240 Gauss static field.
-
The Modulation: This is where the “thread” gets interesting—he modulated the field to the rhythm of the patient’s heart.